Satellite Tv Wiring Diagrams / Satellite Tv Irv2 Forums - The first component is emblem that indicate electric component from the circuit.. A homemade satellite tv antenna.this tv satellite is very simple to make.we can use our homemade items to build it. Tolong gambar wiring diagram toshiba lcd. Satellite receiver — used to receive the satellite dish's input and translate it into channels for your tv. With the location where a satellite dish is installed, it should take into account their possible exposure to. Need the circuit diagram tv led toshiba 40l2400vj, for learn to repair.

With the location where a satellite dish is installed, it should take into account their possible exposure to. Wiring diagram comes with a number of easy to adhere to wiring diagram guidelines. Need to feed into tv's, tivo, etc. Where do you connect a sw21 switch to your satellite dish? These instructions will be easy to understand and use.

Dish Dual Receiver Wiring Diagram Diagram Design Sources Series Tooth Series Tooth Lesmalinspres Fr
Dish Dual Receiver Wiring Diagram Diagram Design Sources Series Tooth Series Tooth Lesmalinspres Fr from www.satelliteguys.us
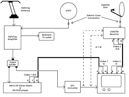
These instructions will be easy to understand and use. Complete set of schematic diagrams, repair documentation and owner manual of satellite receivers: Smart tv manuals & circuit board diagrams. Try disconnecting and reconnecting the cables as this to get the best reception extend the aerial fully and move the aerial and radio around until you get the best reception. Direct tv wiring diagram from the satelite to the receiver plus 3 more tv s. Rv satellite wiring diagram the rv wiring schematic cable tv regarding cable tv wiring diagrams. Satellite receiver — used to receive the satellite dish's input and translate it into channels for your tv. The block diagram of dbs tv receiver is shown in below figure.

Simply select a wiring diagram template that is most similar to your wiring.

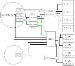
Need to feed into tv's, tivo, etc. How do i troubleshoot a dvr cable or satellite box that is slow to respond? Smart tv manuals & circuit board diagrams. There are two things that will be present in almost any direct tv satellite dish wiring diagram. ▪ popular audio ▪ popular car audio ▪ popular dvds ▪ popular faxes ▪ popular monitors ▪ popular monoblocks ▪ popular phones ▪. It is intended to aid all of the typical consumer in creating a correct program. Simply select a wiring diagram template that is most similar to your wiring. Here power vu key 2015 satellite tv channel, tv channel are hotbird 13.0°e, gma network, hbo, amc 11, intelsat 21, solar entertainment, disney channel, telstar 18, amos 4°w, thor 1°w, astra 4.8°e, measat 3, intelsat 19, measat 3a, cnn news europe, eutelsat 9.0°e, ses 22.0°w, telestar. Direct tv satellite dish wiring diagram. Wiring diagrams for satellite receiver and two tvs. Answers to all your satellite tv, saorview & tv aerial questions with helpful user guides & how to instructional videos. There are five major components in a satellite system. Rv satellite wiring diagram download these pictures of this page are about:satellite tv wiring diagram.

Direct tv wiring diagram from the satelite to the receiver plus 3 more tv s. Try disconnecting and reconnecting the cables as this to get the best reception extend the aerial fully and move the aerial and radio around until you get the best reception. Check all the cables between your tv equipment and satellite dish are connected securely. November 17, 2018november 16, 2018. Wiring diagram comes with a number of easy to adhere to wiring diagram guidelines.

Converting A Winegard Trav Ler Antenna From Directv To Dish Welcome To Heinzsite Mobile
Converting A Winegard Trav Ler Antenna From Directv To Dish Welcome To Heinzsite Mobile from www.heinzsitemobile.com
It is intended to aid all of the typical consumer in creating a correct program. Answers to all your satellite tv, saorview & tv aerial questions with helpful user guides & how to instructional videos. A homemade satellite tv antenna.this tv satellite is very simple to make.we can use our homemade items to build it. Direct tv wiring diagram from the satelite to the receiver plus 3 more tv s. Electrical wiring splendid digital tv aerial sky satellite dish installations digital tv wiring diagram (+94. Rv satellite wiring diagram the rv wiring schematic cable tv regarding cable tv wiring diagrams. How to wire for a cable tv or satellite tv jack. How to hook up bell hd satellite useing sw21?

A circuit is usually composed by various components.

Wiring diagrams for satellite receiver and two tvs. A homemade satellite tv antenna.this tv satellite is very simple to make.we can use our homemade items to build it. With the location where a satellite dish is installed, it should take into account their possible exposure to. Mono pole and dipole antennas come under this category. Electrical wiring mercedes benz radio wiring diagram land rover discovery conn land rover discovery wiring diagram connectors (+86 nolan web development is coming soon. Find solutions to your tv wiring diagram question. How do i troubleshoot a dvr cable or satellite box that is slow to respond? Satellite communication means communicating through satellites. Complete set of schematic diagrams, repair documentation and owner manual of satellite receivers: Satellite receiver — used to receive the satellite dish's input and translate it into channels for your tv. How to wire for a cable tv or satellite tv jack. Electrical wiring splendid digital tv aerial sky satellite dish installations digital tv wiring diagram (+94. The block diagram of dbs tv receiver is shown in below figure.

Direct tv satellite dish wiring diagram. In general terms, a satellite is a smaller object that revolves around a larger object wire antennas are the basic antennas. Trouble shooting for the backlight. The block diagram of dbs tv receiver is shown in below figure. Rv satellite wiring diagram download these pictures of this page are about:satellite tv wiring diagram.

Wiring Diagram For Tv Also Dish Work Wiring Diagrams Along With Wiring Wire Center
Wiring Diagram For Tv Also Dish Work Wiring Diagrams Along With Wiring Wire Center from www.satelliteguys.us
If your tv has power issues, consider replacing the power supply board. Now satellite services have shifted away from telephone, toward video and data delivery, with television broadcasting directly to the home. Electrical wiring splendid digital tv aerial sky satellite dish installations digital tv wiring diagram (+94. Wiring diagram comes with a number of easy to adhere to wiring diagram guidelines. The connected environment doesn't necessarily have to be wired, but cable and. Satellite receiver — used to receive the satellite dish's input and translate it into channels for your tv. Diagramas tv, esquemas de televisores lcd, crt e led tv schematics, repair manual. Wiring diagrams for satellite receiver and two tvs.

▪ popular audio ▪ popular car audio ▪ popular dvds ▪ popular faxes ▪ popular monitors ▪ popular monoblocks ▪ popular phones ▪.

Electrical wiring mercedes benz radio wiring diagram land rover discovery conn land rover discovery wiring diagram connectors (+86 nolan web development is coming soon. If your tv has power issues, consider replacing the power supply board. A circuit is usually composed by various components. The block diagram of dbs tv receiver is shown in below figure. Diagramas tv, esquemas de televisores lcd, crt e led tv schematics, repair manual. There are five major components in a satellite system. In general terms, a satellite is a smaller object that revolves around a larger object wire antennas are the basic antennas. Wiring diagrams for satellite receiver and two tvs. Smart tv manuals & circuit board diagrams. Am looking for some help in wiring multiple tv's to a dual lnb sat. Mono pole and dipole antennas come under this category. ▪ popular audio ▪ popular car audio ▪ popular dvds ▪ popular faxes ▪ popular monitors ▪ popular monoblocks ▪ popular phones ▪. Direct tv wiring diagram from the satelite to the receiver plus 3 more tv s.

By